公司动态

了解最新公司动态及行业资讯

有机物污染土壤原位淋洗修复设备

2017-10-24 06:57:50 222 编辑:admin 来源:本站
  伴随着我国经济的高速发展,环境污染问题也日渐突出,尤其是一些工业生产活动中由于操作或管理不当导致大量有机污染物排放进入周边土壤中,造成严重的环境污染,对人类健康带来极大的危害风险。因此,迫切需要研发更多土壤修复技术及其设备,以高效去除土壤中的有机污染物质,提升土壤环境质量。
  土壤淋洗-化学氧化修复工艺是一种常用方法,该项技术是以淋洗剂作为载体将污染土壤中的有害物质带出,再对带有污染物的水进行氧化降解处理;其涉及的修复设备一般分为土壤淋洗和化学氧化修复两部分。其中,在化学氧化修复单元,已有技术设备的工作原理主要是泵入过氧化氢、高锰酸钾或过硫酸钠等常用氧化剂与有机污染物相互反应。专利CN 103433274A提出利用臭氧作为氧化剂去除水中有机污染物,但是尽管臭氧具有强氧化性,其自身却不能有效氧化分解某些有机物(例如聚乙烯醇等)。有研究表明,将臭氧与微纳米气泡技术联用能够促使污水中难降解有机污染物向无机物的快速转化,因此,集成了臭氧氧化和微纳米气泡发生装置的土壤淋洗-化学氧化修复系统可能带来对有机污染土壤的高修复效率。
  同时,现有的土壤淋洗修复-化学氧化修复工艺(如专利CN 102172614A)往往需要对污染土壤进行挖出/运输,易于造成有害物质的挥发,危害操作人员的人体健康,并引起大气的二次污染。而且,淋洗修复工艺流程一般都是需要通过一套土壤淋洗设备和一个或多个污水处理设备的联用来实现,淋洗后的污水还需要配合泥水分离装置进行工作,如在专利CN 203448391U中公开的一种污染土壤原位修复系统,其需要单独设置沉淀池以实现溶液的固液分离,这将增加占地面积和基建费用,进而提高土壤修复处理的成本。如果能够构建原位土壤淋洗修复系统,既能减少化学氧化剂及辅助剂的用量,又可以提高氧化剂的氧化能力,同时还实现土壤淋洗设备、污水处理设备与泥水分离设备的一体化,有助于提高修复效率,避免二次污染,降低能耗与运行/维护费用。
  为了解决上述技术问题,本实用新型所提供了一种有机物污染土壤原位淋洗修复设备,避免在修复过程中移动土壤,实现在原位彻底修复污染土壤,避免土壤中的污染物对空气造成二次污染。
  一、为了达到上述目的,本实用新型所采用的技术方案是,一种有机物污染土壤原位淋洗修复设备,包括:
  筒体,具有一容纳污染土壤的腔体,筒体壁设有一进土口和一出土口,
  土壤淋洗单元,包括一加压泵、喷淋管和淋洗喷头,淋洗喷头设置于筒体内的腔体底部,加压泵输出端连接有一进液管,进液管与喷淋管连通,喷淋管与淋洗喷头连通,
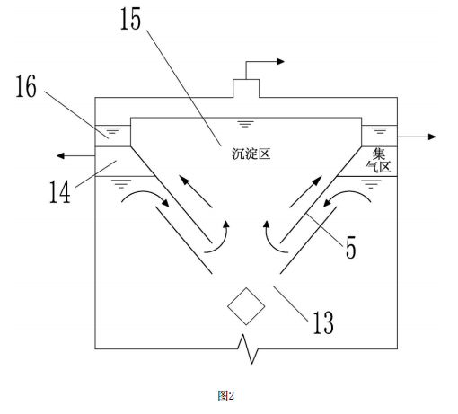
  土壤修复单元,包括一微纳米气泡发生单元和臭氧池,该微纳米气泡发生单元的气泡水出口与臭氧池进口连通,所述臭氧池的出口经管道与加压泵的输入口连通,三相分离单元,设置于筒体内顶部,包括一集气区和一沉淀区,该沉淀区底部开设有回流缝,沉淀区顶部两侧设有廊道,所述廊道通过输液管道与臭氧池进液口连通,集气区设置于沉淀区旁位于廊道下方,该集气区具有出气口。集气区和沉淀区配合回流缝实现气、液、固三相分离。
  更进一步的,还包括废气处理装置,所述废气处理装置经过一输气管与集气区的出气口连通。设置废气处理装置净化废气,避免二次污染。
  更进一步的,所述输气管上还设有第一控制阀。设置第一控制阀用于控制输气管内的气体导通或阻断。
  进一步的,所述进液管上设有第二控制阀。设置第二控制阀用于控制进液管内的液体导通或阻断。
  进一步的,还包括淋洗液补充池,所述淋洗液补充池与一补充液泵连接,补充液泵与臭氧池连接。设计淋洗液补充池,并配合补充液泵,能够快速有效为臭氧池中补充淋洗液。
  进一步的,所述筒体内部腔体为密闭容腔。
  二、本实用新型通过采用上述技术方案,与现有技术相比,具有如下优点:
  1 .本实用新型设计了一个自循环的污染土壤原位淋洗修复设备,不需要移动土壤,在设备内部即可实现土壤的有效清洗。
  2 .本实用新型通过设计一三相分离单元,无需设置沉淀池,使得整个设备结构简化,降低设计成本,大大简化了土壤修复工艺及修复成本。
  3 . 本实用新型设计了土壤修复单元,包括一微纳米气泡发生单元和臭氧池,通过微纳米气泡发生单元产生大量微纳米气泡水,输入臭氧池,微纳米气泡破裂时释放大量的羟基自由基,使臭氧的氧化能力增强,并且增大臭氧在水中的溶解量和停留时间,提高臭氧使用效率,将有机污染物高效降解氧化成无机物。
  4 .本实用新型的筒体内部腔体设计为密闭腔体,使得整个土壤修复中的反应过程均密闭,挥发出的有害气体在三相分单元进行分离及收集,并通入污染气体处理装置进行统一处理,因此不会造成气态有机污染物的散逸,能够有效避免二次污染。
  5 . 本实用新型设计巧妙合理,各部件之间配合完美,操作简单,土壤修复周期短,修复成本低,有利于促进有机污染土壤修复的产业化进程。
  三、附图说明
有机物污染土壤原位淋洗修复设备的结构示意图有机物污染土壤原位淋洗修复设备的结构示意图
  图1是有机物污染土壤原位淋洗修复设备的结构示意图。
  图2是三相分离单元的结构示意图。
  1 .喷淋管,2 .淋洗喷头,3 .筒体,4 .污染气体处理装置,5 .三相分离单元,6 .控制阀,7 .臭氧池,8 .微纳米气泡发生单元,9 .淋洗液补充池,10 .补充泵,11 .加压泵,12 .污染土壤,13 .回流缝,14 .集气区,15 .沉淀区,16 .廊道,17 .输液管道,18 .进土管,19 .排土管,20 .控制阀,21 .腔体

30

装备制造经验

立即免费获取土壤修复方案

为用户提供及时、高效、便捷的服务

在线咨询
凯发娱乐环境希望与你携手,共创美好未来...
5