行业动态

了解最新公司动态及行业资讯

多层渐变筛孔土壤筛分机的由来你知道吗

2018-01-25 08:23:12 172 编辑:admin 来源:本站
   
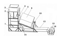
  筛子,指一种用竹片编制的生活用具,有各种各样的形状。它有漏孔,主要是使小颗粒通过孔掉出去,常见的为方孔,圆孔,矩形孔,对于食用菌的培养,所使用的原料中对于制土也是一个非常重要的过程,对于土壤分离制成均匀大小颗粒非常重要,但是,目前,市面上的筛子在一次分离过程中不能有效的将土壤分离的比较均匀,这就是需要人工多次分离,浪费时间和人工,土壤分离效率低。
 
  对于分工筛分技术上的不足之处,就有了这种多层渐变筛孔土壤筛分机,为了达到筛分的目的,通过多层筛子一起工作,工作效率高,效果更好,而且结构简单,操作方便,实用性极高。它是有晃杆、第一层筛子、第二层筛子、支撑杆、悬挂环、第三层筛子、横杆和布袋组成,所述的支撑杆上设置有晃杆,所述的支撑杆上设置有第一层筛子,所述的第一层筛子上设置有悬挂环,所述的支撑杆上设置有第二层筛子,所述的第二层筛子上设置有悬挂环,所述的支撑杆上设置有第三层筛子,所述的第三层筛子上设置有悬挂环,所述的支撑杆上设置有横杆,所述的横杆上设置有布袋,所述的筛子通过悬挂环固定在支撑杆上。通过上述技术方案的有益效果是结构简单,操作方便,实用性较高,工作效率高。
   

30

装备制造经验

立即免费获取土壤修复方案

为用户提供及时、高效、便捷的服务

在线咨询
凯发娱乐环境希望与你携手,共创美好未来...
5